Tesla Roadster do të ketë fshirëse revolucionare të xhamave

Mënyra se si funksionojnë fshirësit e xhamave së shpejti mund të ndryshojë thelbësisht.
Për vite dhe dekada, pastruesit e xhamave të makinave kanë punuar në të njëjtën parim. Një patentë nga Tesla tani tregon se mënyra se si funksionojnë fshirësit e xhamave mund të ndryshojë në mënyrë drastike në të ardhmen e afërt.
Kjo është e mundshme që zhvillimi i ri do të përdoret tashmë në Tesla Roadster. Tani prodhuesit të automjeteve amerikane i është dhënë zyrtarisht patenta, transmeton Telegrafi.
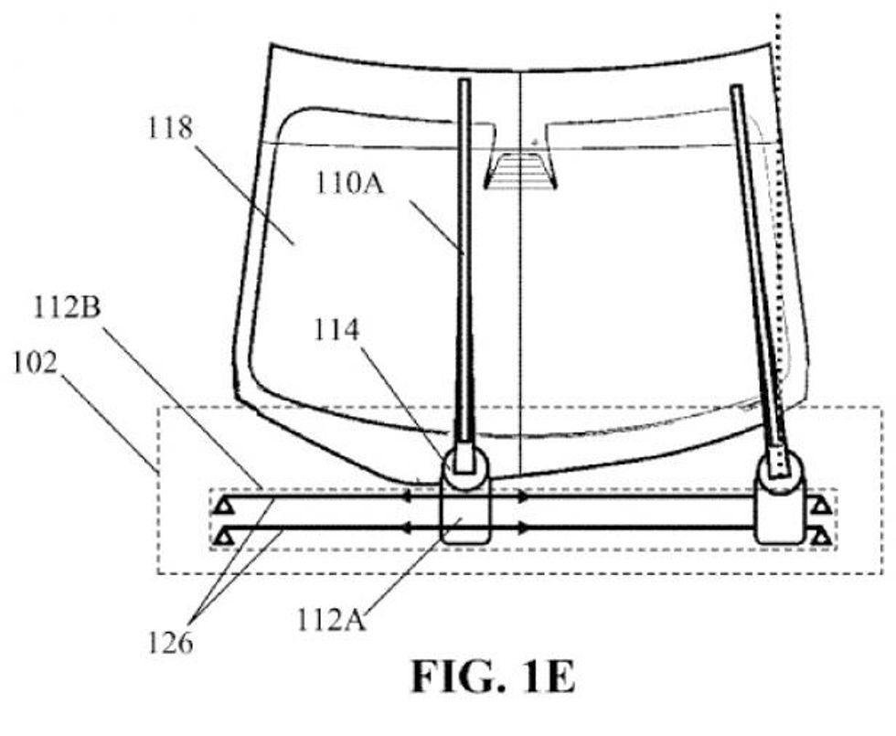
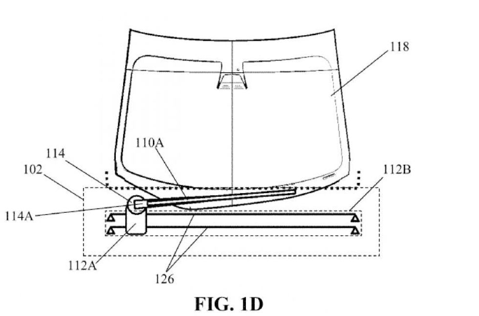
Sipas kësaj, fshirësit e rinj të xhamave nuk duhet të fiksohen më në një pikë. Në vend të krahut kthyes, ekziston një pastrues i vetëm xhami në një sistem hekurudhor.
Fshirësi zhvendoset djathtas dhe majtas me anë të elektromagnetëve. Kjo largon shiun dhe papastërtitë nga e gjithë dritarja me vetëm një pastrues. /Telegrafi/





















































