Tesla po punon në sistemin e ri të ngrohjes së ulëseve të veturave

Sistemi i ri i ngrohjes, do të ofroj ulëse të ngrohta dhe të përshtatshme, me më pak shpenzim
Ulëset që ngrohen, nuk janë risi në industrinë e automobilizmit, meqë janë shfaqur para pesë dekadash, ndërsa tani janë standarde në shumicën e veturave të reja, transmeton Telegrafi.
Mirëpo, inxhinierët kreativë në Tesla, kanë vendosur që të punojnë në ndryshimin e sistemit të ngrohjes së ulëseve të veturave, që t’ju rrisin rehatinë përdoruesve që i vozisin këto makina nëpër zona të ftohta.
Njoftimi vjen vetëm disa ditë, pasi Telsa ka bërë të ditur se është duke sjellë një sistem të ri të fshirjes së xhamave, në kohën kur kompania po përballet me kritika të shumta për kualitetin e ndërtimit të makinave dhe të funksionimit të softuerit.
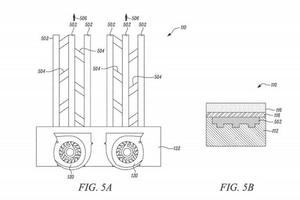
Bazuar në aplikimin për patentë, mësohet se Tesla do të krijojë ulëse të reja që përbrenda përmbajnë likuid, që do të përhapet gjithkah në mënyrë të njëjtë dhe të lëshojë nxehtësi. Deri më tani, është shfrytëzuar mënyra tradicionale e nxehjes së ulëse, nëpërmjet ngrohëseve elektrike, ku sa më shumë rrymë që kalonte, aq më shumë nxehtësi prodhohej.
Por, Tesla planifikon të përdorë sistemin e ri, për ngrohjen dhe ftohjen e pjesëve të ulëseve duke përdorur një element metalik për të ngrohur lëngun dhe ftohësin e kondicionerit për të freskuar, varësisht nga nevoja.
Megjithatë, nuk është bërë e ditur se çfarë lloj likuidi do të përdoret, por besohet të jetë ndonjë lloj xheli, që përdoret në kutitë që ftohen, për ta mbajtur ftohtë më pak kutinë që shërben si frigorifer.
Këto ulëse elektrike, që pritet të shpenzojnë shumë më pak, do të ofrojnë më shumë rehati dhe ngrohje më të mirë. /Telegrafi/

















































