Audi shpik baterinë e veturave elektrike me fikës zjarri të integruar

Nuk vihet në diskutim se zjarret e baterive të veturave elektrike janë të rrezikshme.
Ato lloj zjarresh nuk janë aspak afër zjarreve të zakonshme të veturave me derivate, por megjithatë, mund të ndizen.
Në fakt, një veturë elektrike ka 10 herë më pak shanse të vetë-digjet në krahasim me një automjet me djegie të brendshme.
Por kur zjarri ndodh - mund të jetë shumë i vështirë të shuhet.
Arena EV shkruan se kolegët e tyre të Carbuzz, zbuluan dy aplikime për patentë të bëra nga Audi tek Zyra e Patentave në SHBA, e cila i adresohet çështjes së zjarreve të baterive.
Zgjidhja e ofruar nga Audi duket të jetë e thjeshtë dhe e lehtë për t'u zbatuar, transmeton Telegrafi.
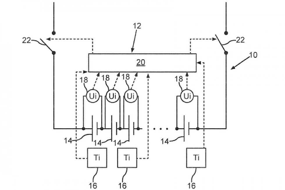
Patenta e parë është paraqitur për një sistem të ri të kontrollit të baterisë.
Kjo zgjidhje prezanton sensorë individualë të montuar në bateri. Secila qelizë e baterisë monitorohet vazhdimisht dhe nëse në ndonjë pikë bie nga rrezja normale e temperaturës, ajo mund të fiket dhe të shkëputet nga e tërë bateria.
Kjo e ndalon ngritjen e temperaturës e cila rezulton në zjarr, dhe nëse do të jetë e nevojshme, mund të fiken edhe një grup qelizash në të njëjtën kohë.
Patenta e dytë i adresohet asaj se çfarë mund të ndodh në rast të ngritjes së temperaturës dhe fikja e qelizave më nuk është e mundshme.
Nëse sistemi kontrollues zbulon se temperatura në një qelizë të vetme ose në një numër të qelizave mund të rritet, atëherë pako e baterive “përmbytet” me pluhur të fikjes së zjarrit e cila nuk e lejon zjarrin ta përfshijë veturën.
Një zgjidhje tjetër interesante është një linjë e jashtme e furnizimit për pluhurin me të cilën mund të lidhet nga zjarrfikësit që do të thotë kontroll efektiv i zjarrit dhe potencialisht një automjet që mund të rregullohet pas zjarrit. /Telegrafi/

























































