Konfirmohet ardhja e telefonit të palosshëm Razr (Foto)
Motorola ishte kompania e parë, që para një kohe paralajmëroi ardhjen e telefonit të palosshëm - nëpërmjet rikthimit të Razr, thuhej se do të arrijë një epokë e r e pajisjeve që iu ndryshohet formati.
Së fundmi, zyrtari i shitjeve globale, Dan Dery ka konfirmuar për Endgadged ardhjen e këtij telefoni, vetëm se nuk ka dhënë detaje konkrete, transmeton Telegrafi.
Gjatë zhvillimit të Mobile World Congress në Barcelonë, Dery ka bërë të ditur se Motorola nuk do të mbetet vonë sa i përket telefonave të palosshëm dhe të arrijë me kohë.
“Kemi filluar të punojmë për një kohë të gjatë në këtë sistem të telefonave, ndërsa realizuam edhe shumë përsëritje të sistemit të krijimit” ka thënë Dery.
Ishte thënë se Rizr do të arrijë gjatë shkurtit, por sot është dita fundit e muajit dhe nuk kemi asnjë prezantim.
Derisa Samsung Galaxy Fold do të arrijë në prill, ndërsa Huawei Mate X në qershor, telelefoni i palosshëm Motorola Razr sipas Endgadged mund ta shohim rreth verës.
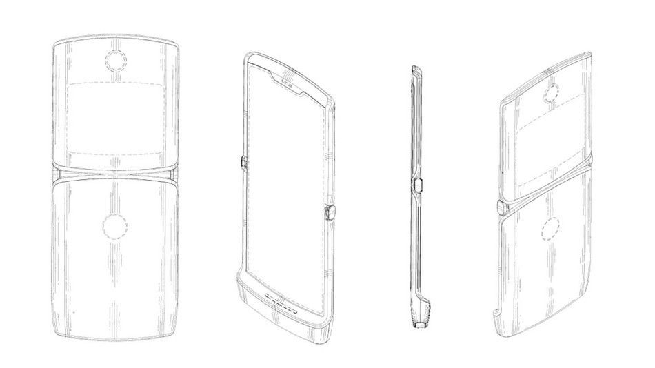
Në anën tjetër, janë shpërndarë skicat, që e tregojnë këtë telefon në formatin e aplikimit për patentë, por që mund të ndryshojë dukjen më vonë. /Telegrafi/


