Apple patenton një metodë që i bën telefonat më të rezistueshëm ndaj ujit

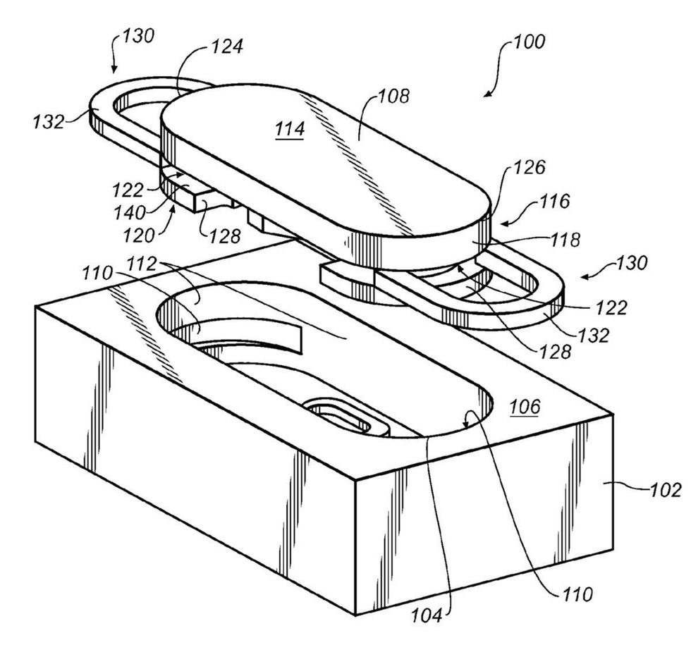
Në vitet e fundit, Apple ka prezantuar rezistencën ndaj ujit në iPhone-ët e tyre. Megjithatë, duhet të theksohet se Apple kurrë nuk ka reklamuar telefonat si krejtësisht të papërshkueshëm nga uji, vetëm të qëndrueshëm ndaj ujit deri në një pikë të caktuar.

Pasi është vetëm patentë, nuk dihet nëse Apple ka në plan që përfundimisht të bëjë këtë një realitet, por shpresojmë se iPhone-ët e ardhshëm do të kenë një shkallë më të lartë të rezistencës ndaj ujit. /Telegrafi/
Nga
Telegrafi
29/07/2019
Top Lajme
Promo Reklamo këtu
Jobs
Deals




















































