Hyundai me ide “brilante” – monitor në timon

Monitorët në vetura nuk janë diçka e re. Radio, navigacioni dhe sistemet e sigurisë prej vitesh nuk kanë sjellë ndonjë risi.
Prodhuesit e veturave vazhdimisht mendojnë shumë rreth asaj që sa më shumë ekrane të vendosin në brendësi të mjetit, sikur të ishte një lloj garancie për shitje më të madhe, transmeton Telegrafi.
Hyundai nuk dëshiron të ngec, kështu është në kërkim të inovacioneve sa i përket ekraneve – diçka që do të kënaqte klientin gjatë blerjes.
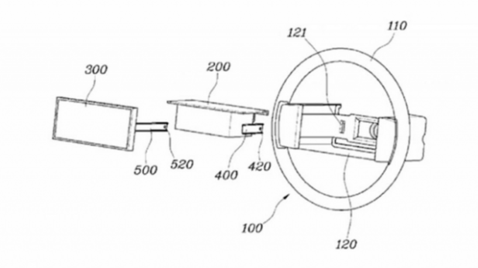
Kështu kjo kompani nga Koreja e Jugut ka patentuar ekranin në qendër të timonit, ku zakonisht gjendet një plastikë me ngjyrë të zezë, jastëku me ajër dhe logoja që tregon se aty është edhe sirena.
Por shtrohet pyetja sesi Hyundai do të zgjidh çështjen e jastëkut me ajër, e ekrani të mos ju ngjitet për balli në momentin që pëson aksident trafiku.
Cilat informacione do të shfaqen në ekran, funksionet dhe shumë çështje tjera, nga Hyundai thonë se së shpejti do të dalin me një konferencë në të cilën do të japin shpjegime për gjithçka. /Telegrafi/























































