Ford patenton rripin e ri të sigurisë (Foto)

Kompania ka gjetur një metodë të re, për të mbajtur ngrohtë në dimër
Ditë më parë, Ford patentoi rripin që do të mbajë të kapur, tërë pjesën e pasme dhe bagazhin e makinave SUV, transmeton Telegrafi. Të gjithë menduan se kjo kompani do të pushojë në këtë drejtim, por ishte gabim.
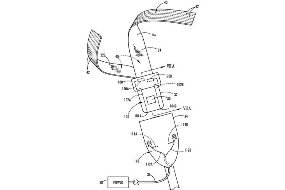
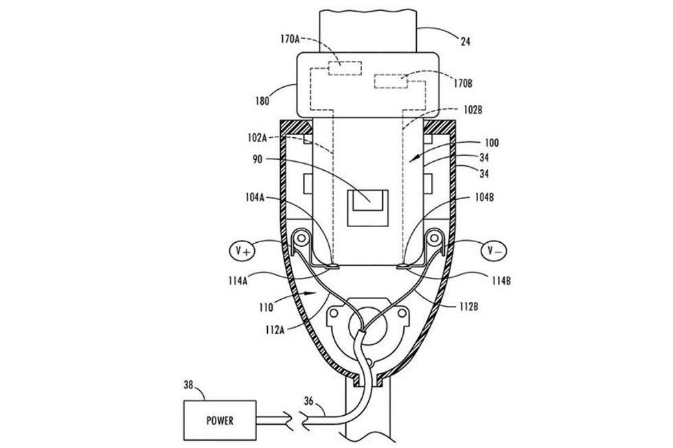
Pa humbur kohë, Ford e ka patentuar rripin e ri të sigurisë, nëpër të cilin kalon elektricitet dhe ia ngrohë turpin atij që është duke e bartur.
Projekti është ende në fazat fillestare dhe përkundër që gjithçka është detajuar në 30 faqe, nuk është bërë e ditur se si do të funksionojë.
Madje, as forma se si do të lëvizë elektriciteti për ta bërë ngrohjen, apo nivelin e sigurisë në rast aksidenti.
Vetëm se nuk është vënë në dyshim siguria e këtij rripi, pasi Ford realizon gjithçka me siguri të lartë. /Telegrafi/
























































