Falë Apple do të komunikohet si në filmin Star Trek

Apple dëshiron të zvogëlojë nevojën për kufje, ndaj po teston mundësinë e krijimit të një lloj altoparlanti mobil.
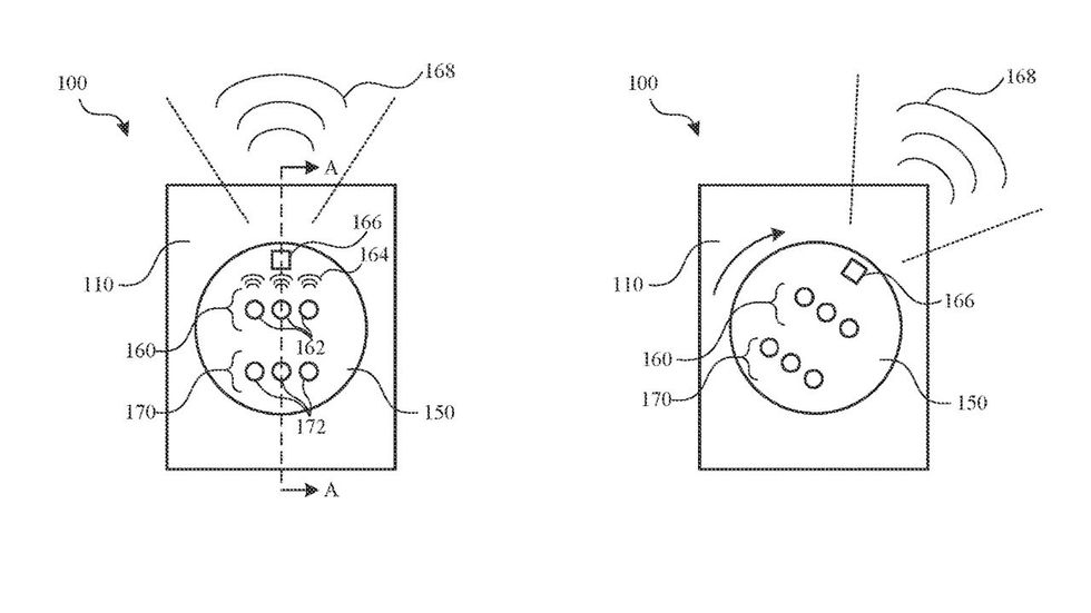
Apple është aktualisht në fazën e kërkimit dhe ajo që dëshiron të krijojë është një altoparlant, që do të përdorte teknologjinë e drejtimit të audios në mënyrë që përdoruesi të mund ta dëgjojë qartë tingullin, por askush tjetër nuk mund ta dëgjojë.
Apple e quajti këtë patentë një "pajisje mobile me tingull drejtimi" dhe ngjan me skenat e filmit Star Trek, transmeton Telegrafi.
Pajisja do të përdorte valë zanore të drejtuara në mënyrë që vetëm përdoruesi të dëgjonte tingullin, që do të thotë se pajisja do të duhej të ishte e vendosur në trup sipas ilustrimeve të Apple, dhe ka shumë të ngjarë të ngjitet në veshje.
Kështu, tingulli do të udhëtonte nëpër ajër dhe në drejtimin e dhënë në veshët e përdoruesit, dhe jo rreth tyre, shpjegon Apple Insider.
Por, mënyra e mbajtjes së pajisjes shihet vetëm në ilustrim, e jo në përshkrimin e patentës, thekson Apple Insider.
Aktualisht Apple po hulumton se si ta “detyrojë” pajisjen që të transmetojë zë vetëm tek përdoruesi që do të sigurojë privatësi dhe pa kufje.
Apple dëshiron të zvogëlojë nevojën për kufje sepse ato mund të "ndërhyjnë në aftësinë e përdoruesit për të dëgjuar tingujt përreth ose për të komunikuar me njerëz të tjerë në të njëjtën kohë".
Kompania amerikane shton se pajisja mund të përfshijë një mikrofon, lidhje me pajisje të tjera për lehtësinë e përdorimit, ose sensorë të krijuar për të monitoruar karakteristikat e përdoruesit për të siguruar një përvojë të përshtatshme të përdoruesit. /Telegrafi/























































