A e dini se për çfarë do të përdoret djersa nga Apple Watch?

Disa njerëz djersitjen e shohin si rezultat i një stërvitjeje të fortë. Të tjerë e urrejnë sepse kjo do të thotë se kanë shumë vapë.
Por kujt i kishte shkuar në mendje se djersa mund të përdoret për të mbledhur të dhëna që përmbajnë informacione për shëndetin?
Inxhinierët e Apple e kanë realizuar këtë gjë, dhe kjo është arsyeja pse kompania ka paraqitur një aplikim për patentën e titulluar “Pajisjet e veshura me aftësi për matjen e djersës”.
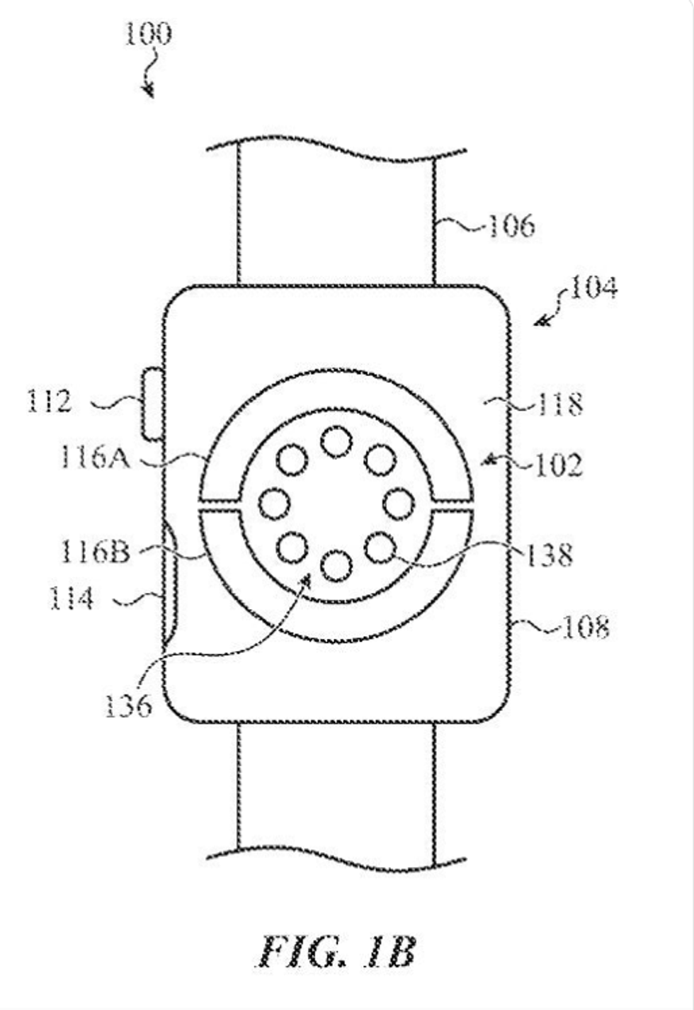
Pajisja në të cilën Apple po fokuson këtë aplikacion është Apple Watch.
Kjo patentë përfshin një sensor për matjen e djersitjes, informatat e të cilit do të ruhen në Apple Watch.
Kompania ka theksuar gjithashtu se kur një përdorues i Apple Watch është duke ecur, vrapuar, ose çikluar, pajisja mund të llogarisë një shkallë të djersës “që korrespondon me intervalin kohor të stërvitjes”.
Kjo do ta ndihmojë përdoruesin të dijë në lidhje me “humbjen totale të lëngjeve gjatë stërvitjes”. /Telegrafi/





















































