Sipas patentës së re, Ferrari nuk do ta largojë motorin V12

Megjithëse dukej se do ta largojë përgjithmonë, sipas patentës së re, Ferrari ka vendosur që motorin V12 ta mbajë edhe më gjatë
Në kohën kur jemi në një evolucion të ndryshimeve, sa i përket sistemit të brendshëm të makinave, prodhuesit po mundohen t’i përshtatin motorët e vjetër ose t’i largojnë në tërësi, në mënyrë që të emetojnë sa më pak gazra, transmeton Telegrafi.
Për të gjithë ata që i duan motorët e fuqishëm V10 dhe V12, e dinë mirë se koha e tyre po kalon dhe po zëvendësohen me motorë hibridë ose tërësisht elektrikë.
Derisa të gjithë mendonin se Ferrari ka vendosur ta largojë motorin V12, duket se prodhuesi italian nuk është gati dhe ka aplikuar për një patentë, ku zyrtarizon vazhdimin e prodhimit.
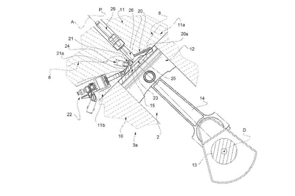
Forma e re e ndërtimit, tregon se ky motor do të ketë dy metoda për lëndën e djegshme dhe përzierjen e ajrit, që të shkaktojë sa më pak ndotje.
Metoda e re që do të përdorë Ferrari, pritet ta ngrohë sa më shumë katalizatorin në fillim dhe të reduktojë sa më shumë djegien e benzinës. Ajri që qarkullon nëpër të, pritet të jetë gjithashtu i ngrohtë, për ta mundësuar lëvizjen e shpejtë.
Gjëja kryesore e këtij sistemi që e ka zhvilluar Ferrari, është ngrohja e motorit V12 që vendoset në pjesën e përparme dhe sistemi i ndezjes me të ashtuquajturën shkëndijë, që lëshimin e gazrave në ambient. /Telegrafi/






















































